产品简介
本系列产品包括耐腐型涂层热电偶热电阻和烧结四氟型热电偶热电阻,烧结四氟耐腐热电阻被广泛用于化工厂、制药厂等工作场所。
主要技术参数
测量范围:-100~300℃
分度号:Cu50、Pt100、E
精度等级:±(0.3℃+0.006|t|) 、 A级 ±(0.15℃+0.002|t|),B级 ±(0.30℃+0.005|t|)、 ±2.5℃或±0.0075|t|
保护管直径:根据客户需求
保护管材质:根据客户需求
热电阻接线:二线制接线
热响应时间:T0.5≤75S(在温度出现阶跃变化时,热电阻的输出变化至相当于该变化的50%,所需要的时间称为热响应时间,用T0.5表示)。
热阻阻公称压力:常压(一般是指在室温情况下保护管所能承受的静态外压而不破裂。实际上,容许工作压力不Jin与保护管材料、直径壁厚有关,还与其结构形式,安装方法,置入深度以及被测介质的流速和种类等有关)。
热电阻置入深度:根据客户需求
热电阻自热影响:通过热电阻中测量电流5mA时,测得的电阻增量换算成温度值应不大于0.30℃。
热电阻Jue缘电阻:常温Jue缘电阻的试验电压可取直流10~100V任意值,环境温度在15~35℃范围内,相对湿度应不大于80%。常温Jue缘电阻值应不小于100MΩ。
执行标准:JB/T8623-1997
结构原理
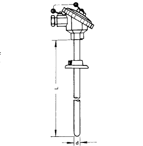
热电阻是一种温度传感器,它是利用铂丝在温度变化时自身电阻也随着变化的T性来测量温度的,铂电阻是由感温元件、不锈钢外保护管、接线盒以及各种用途的固定装置组成,有双支和单支元件两种规格,双支铂电阻可以同时输出二组相同电阻信号供使用,不锈钢保护管不但具有抗腐蚀性能,而且具有足够的机械强度,保证铂电阻能安全地使用在各种场合。
结构图片
规格可定制



无固定装置 螺纹连接 法兰连接



