产品简介
喷涂耐磨热电阻被广泛用于化工厂、冶炼厂、火电厂等工作场所。
主要技术参数
测量范围:-200~420℃
分度号:Pt100、Cu50
精度等级:A级 ±(0.15℃+0.002|t|),B级 ±(0.30℃+0.005|t|)、±(0.30℃+0.006|t|)
保护管直径:根据客户需求
保护管材质:根据客户需求
热电阻接线:三线制接线或四线制接线
热响应时间:T0.5≤100S(在温度出现阶跃变化时,热电阻的输出变化至相当于该变化的50%,所需要的时间称为热响应时间,用T0.5表示)。
热电阻公称压力:2.5MPa(一般是指在室温情况下保护管所能承受的静态外压而不破裂。实际上,容许工作压力不Jin与保护管材料、直径壁厚有关,还与其结构形式,安装方法,置入深度以及被测介质的流速和种类等有关)。
热电阻置入深度:根据客户需求
热电阻自热影响:通过热电阻中测量电流5mA时,测得的电阻增量换算成温度值应不大于0.30℃。
热电阻Jue缘电阻:常温Jue缘电阻的试验电压可取直流10~100V任意值,环境温度在15~35℃范围内,相对湿度应不大于80%。常温Jue缘电阻值应不小于100MΩ。
执行标准:JB/T8622-1997标准
结构原理
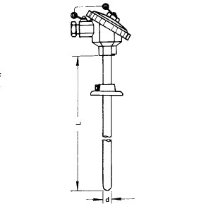
热电阻是一种温度传感器,它是利用铂丝在温度变化时自身电阻也随着变化来测量温度的,铂电阻是由感温元件、不锈钢外保护管、接线盒以及各种用途的固定装置组成,有双支和单支元件两种规格,双支铂电阻可以同时输出二组相同电阻信号供使用,不锈钢保护管不但具有抗腐蚀性能,而且具有足够的机械强度,保证铂电阻能安全地使用在各种场合。
结构图片
规格可定制




无固定装置 螺纹连接 活动法兰连接 固定法兰连接



