产品简介
本系列产品包括用于高温高压的热套式热电偶和用于合成塔、油罐的多对多点式热电偶等产品。化工用热电偶,采用防水接线盒,适合石油化工的环境要求,固定螺纹和法兰标准符合JB/T5219-91和JB/T5583-91的要求,固定法兰除符合上述标准的同时,还增加了B型、C型和D型三种不同的焊接方法,来满足不同用户的需要。
主要技术参数
测量范围:0-800℃
分度号:K分度
精度等级:Ⅰ级(±1.5℃或±0.004|t|)Ⅱ级(±2.5℃或±0.0075|t|)
热电偶类别:镍铬-镍硅,可以为双支
保护管材质:根据客户需求
保护管插深:根据客户需求
热响应时间:T0.5<75S(在温度出现阶跃变化时,热电偶的输出变化至相当于该变化的50%,所需要的时间称为热响应时间,用T0.5表示)。
热电偶公称压力:≤10MPa(一般是指在室温情况下保护管所能承受的静态外压而不破裂。实际上容许工作压力不***与保护管材料、直径壁厚有关,还与其结构形式,安装方法,置入深度以及被测介质的流速和种类等有关)。
热电偶流速:无
热电偶jue缘电阻(常温):常温jue缘电阻的试验电压为直流500V±50V,大气条件为温度15~35℃,相对湿度45%,大气压力86~106kPa,它的常温jue缘值应≥100MΩ。
执行标准:JB/T9238-1999
工作原理
当有两种不同的导体,其两端相互焊接时,两结点处的温度不同,一端温度为测量端或工作端,另一端温度为自由端或冷端,当两端温度存在温差时,就会在回路时产生热电流,配上显示仪表,仪表上就能显示出热电偶所产生的热电动势的对应温度值。热电偶的热电动势将随着测量端或工作端的温度升高而增长,热电偶的热电动势的大小只和导体材质及两端温差有关,和导体的长度、直径无关。
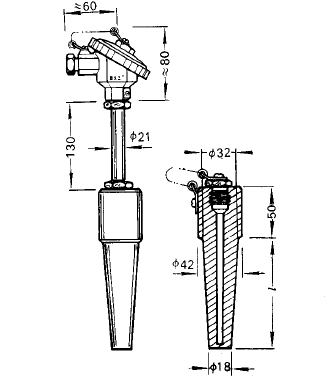
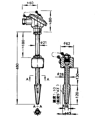
结构图片
规格可定制






